Lifestyle für Technik-Freaks

7 neue Uhren für Nerds

Seite: 7/7

Anbieter zum Thema

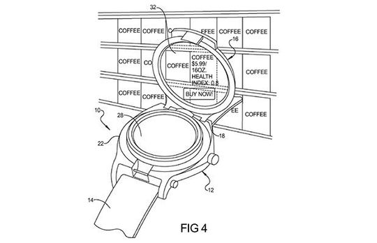
Nerd-Uhr Nr. 7: Die Google Augmented Reality Watch

(USPTO)
Noch nicht mehr als eine Patentanmeldung ist die Augmented Reality Uhr von Google – jedenfalls soweit bekannt ist. Das Konzept ist quasi eine Mischung aus einer Armbanduhr, die Informationen vom Smartphone empfangen kann und einem transparenten Display in einem hochklappbaren Uhrenglas. Dort werden dann Informationen zu den Objekten angezeigt, die durch das Glas zu sehen sind. Google Datenbrille Project Glass lässt grüßen.

(ID:37905870)